Drahtseil-Zubehör | Terminals
Das Augterminal besteht aus Edelstahl rostfrei (Werkstoff 1.4401). Die Oberfläche ist poliert.FürDrahtseildurchmesserAußendurchmesserInnen- durchmesser AugeAußen- durchmesser AugeMaterialstärke AugeLänge mma mmbmmcmmdmmL1mm36,356,415,05,055,547,508,118,06,064,059,009,619,57,572,0612,5012,824,510,086,0714,2012,827,010,0100,0816,1016,230,513,0112,51017,8016,233,514,0134,01220,0019,240,018,0156,51425,0023,0047,018,0206,01628,0026,0053,020,0232,01934,5028,5065,025,0302,02646,0036,0080,030,0400,0
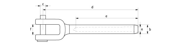
Das Gabelterminal besteht aus Edelstahl rostfrei (Werkstoff 1.4401). Die Oberfläche ist poliert.Drahtseil- durch- messerInnen-durchmesserAußen- durchmesserBolzen-durchmesserLängeinnereLängeinnere Weite Gabel mma mmbmmcmmdmmemmf mm33,36,35,265327,544,37,56,277401055,398,788571266,612,59,7106631477,514,212,61167014,588,31614,614585161010,517,816,515089171212,52019204105251414,52522235140301616,52825,4264160301919,534,528309200322626,5463542028040Maßabweichungen und technische Änderungen vorbehalten!
Das Gewindeterminal besteht aus Edelstahl rostfrei (Werkstoff 1.4401) und die Oberfläche ist poliert.
Drahtseil- durchmesser
Gewinde- durchmesser
Innen-
durchmesser
Außen- durchmesser
Gesamtlänge
Länge
mm
a mm
b
mm
c
mm
d
mm
e
mm
3
M 6
3,3
6,3
100
39
4
M 8
4,3
7,5
117
45
5
M 10
5,3
9
130
51
6
M 12
6,3
12
162
64
7
M 14
7,3
14,2
170
70
8
M 16
8,3
16
195
76
10
M 20
10,3
18
230
89
14
M 22
14,5
25
308
140
16
M 24
16,5
28
363
170
19
M 27
19,5
34,5
758
180
26
M 36
26,5
46
550
220
Maßabweichungen und technische Änderungen vorbehalten!






Maßabweichnungen und technische Änderungen vorbehalten!

